Klappstecker 11 mm mit Gummiverbindung 240 mm
Artikelnummer: 00255Detaillierte Produktbeschreibung
Klappstecker 11 mm mit Gummiverbindung 240 mm
Zusätzliche Parameter
| Kategorie: | Bolzen/Stufenbolzen/ Federstifte, Stiffte / Oberlenker-/Unterlenkerbolzen /Dreipunktaufhängung/Dreipunkt-Hydraulik |
|---|---|
| EAN: | 8023453002553 |
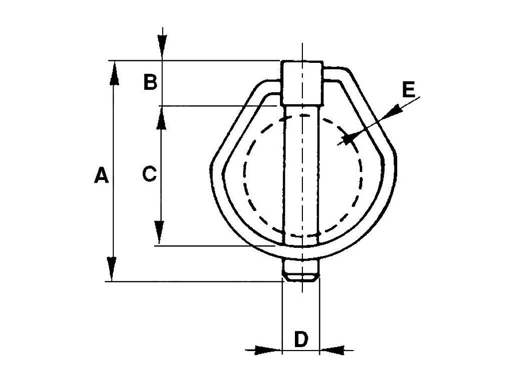
| A: | 56 |
| B: | 11 |
| C: | 40 |
| D: | 11 |
| E: | 3,5 |
Diskussion
Seien Sie der Erste, der einen Beitrag über diesen Artikel schreibt.
