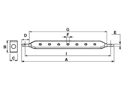
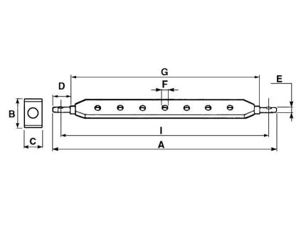
Ackerschiene
Ackerschienen sind in der Regel aus stabilem Stahl gefertigt, um den Anforderungen der Feldarbeit standzuhalten.
Produktsortierung
9 Artikel insgesamt
Liste der Produkte
Steuerelemente der Liste
9 Artikel insgesamt
